● GE bearings have a composite outer ring with inner wear-resistant layer and hard chrome-plated steel balls inside
● High dynamic and static loading capacity
● Good lubricantion in micro-movement
● Consistently very low wear rates
● Constant friction coefficients without stick-slip
● Good chemical resistance
● Excellent sliding properties in seawater
● Swelling behavior < 0.1%
● Temperature range -40 °C/+130 °C
● GE bearings have a composite outer ring with inner wear-resistant layer and hard chrome-plated steel balls inside
● Excellent sliding properties in seawater
● Working temperature -40/+130℃
● GE-FL floating bearings installed CRB bearing in the GE bearing's spherical bore to enable inner bore floating and high wear resistance
● Excellent sliding properties in seawater
● Working temperature -40/+130℃
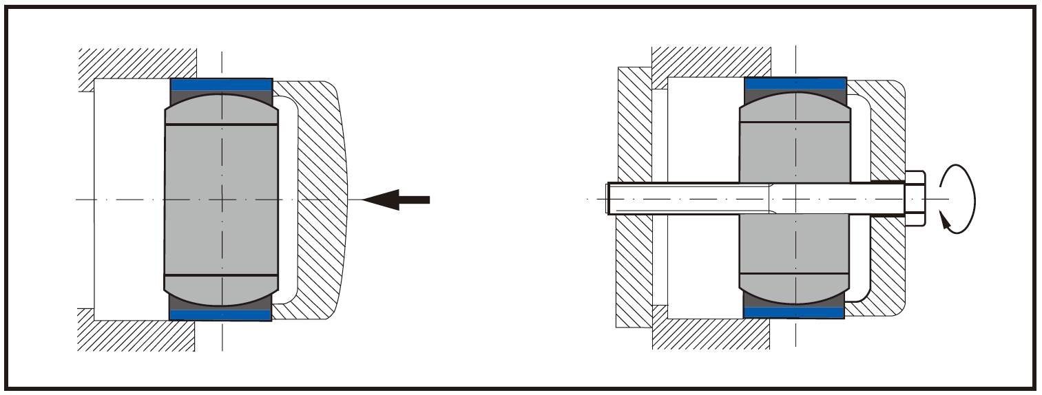
■ Fixed bearings
In fixed bearings, the outer ring is fixed in the housing and the inner ring is fixed on the shaft. Both the tilting and turning movement take place on the spherical surface.
■ Floating bearings
The outer ring of the floating bearing is fixed in the housing. The tilting movement takes place on the spherical surface, the rotational movement is on the inside diameter, with simultaneous axial movement of the shaft also possible.


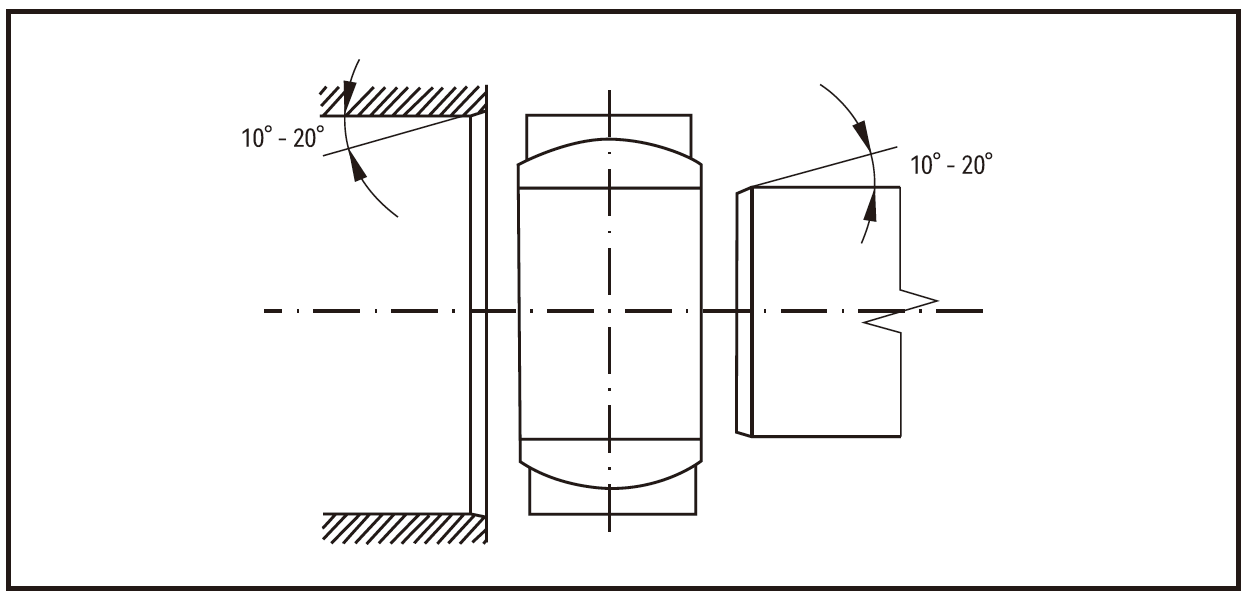
A precise, centric positioning of the spherical bearingis the basic precondition for perfect installation. Accordingly, the housing bores and shaft ends should be chamfered 10° to 20° in axial direction.

For the installation of spherical bearings with cover (pressfit), an installation sleeve or tube used with a hydraulic press as the mounting force transducer provides the best guarantee for the perfect fit of the spherical bearings. Impact damage, for example caused by installing the bearing with hammer and mandrel, must be avoided in any case. Damage of the precision bearing parts can lead to serious malfunctions. Installing a spherical bearing into a housing should be done via the outer ring.

Spherical bearing installation on a shaft or a bolt should be done via the inner ring.

▊DURARUB® Filament Wound Bearings Finder[V2.0] is based on the analysis and calculation of a large number of test data in CSB® laboratory. You can calculations material data by entering parameters such as bearing load, speed, and temperature, and finally output material adaptation data.
▊Because the system calculate and analyze based on lab data, it can't exactly meet the ractual use requirements absolutly. The system data verification has certain limitations; CSB® recommends that the bearing must be tested again to verify whether it meets the actual use requirements.
▊DURARUB® Filament Wound Bearings Finder output data information is only for design reference, and can not be used as the final standard for determining the bearing material conformity, If you have any questions, please contact CSB® sales engineers.
CSB-BAL® plastic spherical bearing for self-aligning solution. The spherical ball is made of wear-resistant composite material and the housing material is made of fiber-reinforced high-strength composite material....
more● Maintenance-free, dry operation
● Static load 240MPa,dynamic load 120MPa
● Working temperature -196/+160℃
● Resistant to dirt and dust
● Internal bore can be precision-finished
● Maintenance-free, dry operation
● Static load 240MPa,dynamic load 140MPa
● Working temperature -196/+160℃
● Resistant to dirt and dust
● Maintenance-free, dry operation
● Static load 240MPa,dynamic load 140MPa
● Working temperature -196/+160℃
● Resistant to dirt and dust
● Excellent anti-wear property under water
● Max. static load 240MPa
● Operation temperature -196/+160℃
● Excellent dirty resistance
● Very lowest friction coefficient
● Maintenance-free, dry operation
● Static load 240MPa,dynamic load 30MPa
● Working temperature -196/+160℃
● Internal bore can be precision-finished
● Maintenance-free, dry operation
● Static load 150MPa,dynamic load 75MPa
● Working temperature -40/+130℃
● Excellent anti-wear ability in liquid lubrication
● All dimensions can be precision-finished
CSB-BAL®M spherical bearings for self-aligning solutions. The spherical ball is made of wear-resistant composite material and the housing material is made of stainless steel....
more